Rivian har ansökt om patent för kolnanorörsbaserade uppvärmda LED-linser

Av: Volodymyr Kolominov | 16.01.2025, 16:11
Rivian presenterar den mycket efterlängtade R2: Vad du kan förvänta dig av den nya modellen Rivian R2. Källa: Rivian

Rivianska elbilsägare klagar ofta på isbildning på LED-strålkastare. Detta är ett vanligt problem med denna typ av strålkastare, som också finns i andra märken. Men det verkar som om den amerikanska tillverkaren av elektriska pickuper och SUV: er har kommit med en originallösning - uppvärmda linser.

Här är vad vi vet

Ansökan lämnades in till US Patent and Trademark Office (USPTO) i juni 2023 och offentliggjordes i december 2024. Dokumentet kom till vår kännedom genom våra kollegor på Motor Authority. Där framgår att Rivian överväger att lägga till ett värmeelement som överför värme genom hela linsen tack vare integrerade kolnanorör.

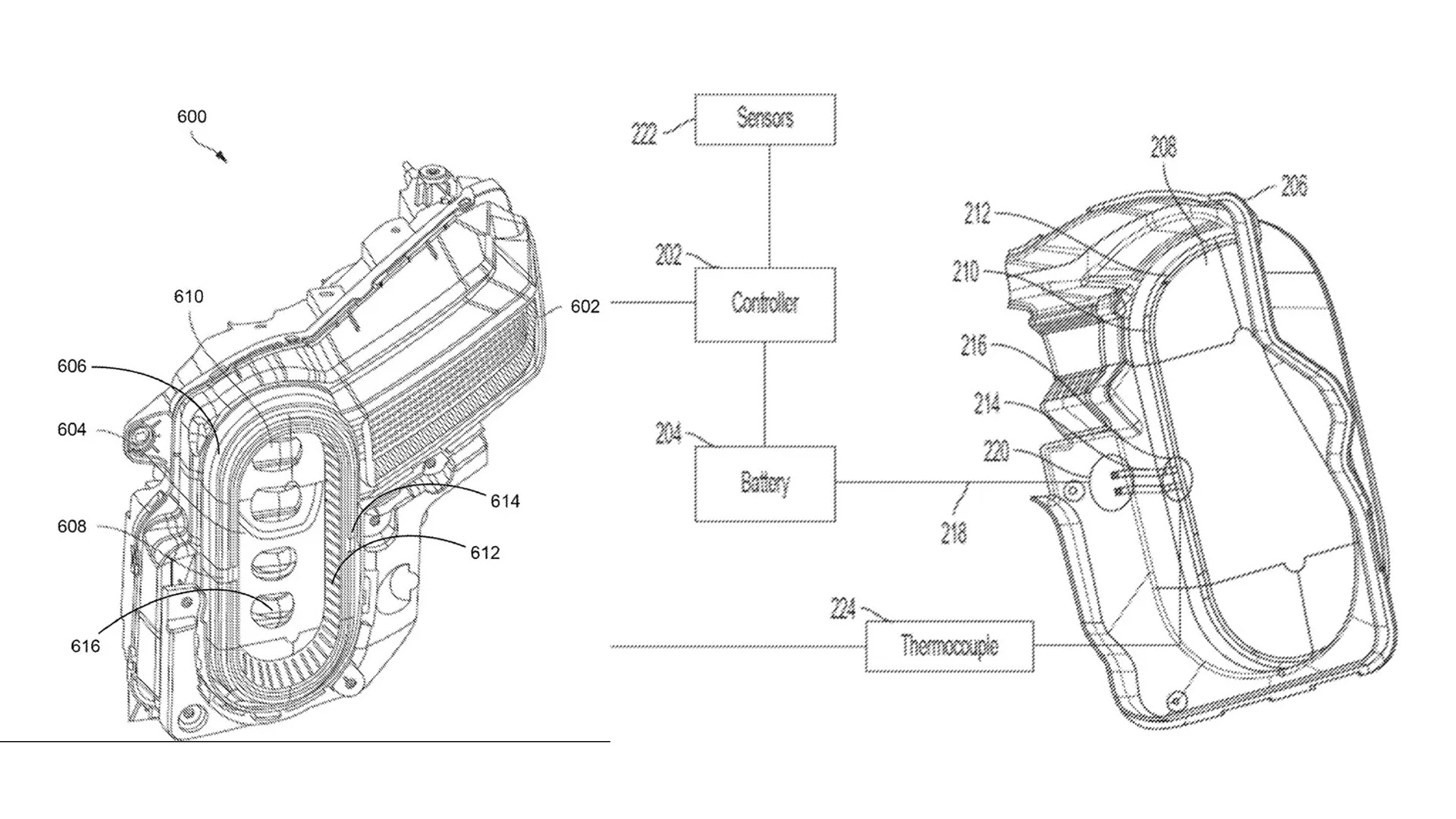
Schematisk bild av Rivians strålkastare med uppvärmda LED-lampor.
Schematisk bild av Rivians strålkastare med uppvärmd LED-lins. Källa: Motor Authority

Rivian kunde ha löst problemet på det gammaldags sättet genom att installera uppvärmda strålkastarrengöringsmunstycken, men uppvärmda linser verkar vara en mer elegant och tekniskt avancerad lösning. Nanorören valdes för att inte hindra ljuset från att passera genom linsen. Det ska dock bli intressant att se vad Rivian faktiskt sätter i produktion.

Patentritningarna visar en strålkastare med en typisk Rivian-design, så det är oklart om den är avsedd för R1, R2 eller R3.

Källa: Motor Authority